|
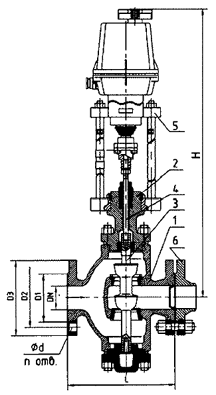
Клапан регулирующий 25ч940нж с электрическим исполнительным механизмом предназначен для применения в системах автоматического управления технологическими процессами различных производств с целью непрерывного регулирования параметров (расхода, давления и др.) рабочей среды. Рабочая среда — жидкая или газообразная, нейтральная к материалам деталей, соприкасающихся со средой при температуре от 15 до 225°С Присоединение к трубопроводу — фланцевое с присоединительными размерами по ГОСТ 12815-80 (исп.1 ряд 2)
Материал: корпуса - чугун СЧ20 Условная пропускная способность Кv:
Герметичность затвора — 0,1 % от Кv. Привод — Электрический исполнительный механизм: ЕСПА, МРП-1.6М или ST-01. |
Габаритные и присоединительные размеры 25ч940нж
|
|||||||||||||||||||||||||||||||||||||||||||||||||||||
