Задвижка клиновая литая 30с15нж Ду80 Ру40 используется в трубопроводах коммунальной сферы, энергосистем и нефте-газовой промышленности.
Эти задвижки преимущественно применяются в качестве запорной и запорно-регулирующей арматуры и предназначены для полного перекрытия или регулирования расхода среды. За малое гидравлическое сопротивление их часто используют в высокоскоростных магистральных трубопроводах.
Расчетная рабочая среда - вода, пар, жидкие нефтепродукты. Для изготовления корпуса используется сталь 25Л. Температурный диапазон: до +425 C0. Присоединение к трубопроводу - фланцевое по ГОСТ 12815-80.
Тип присоединения и материал прокладки выбирают в зависимости от условий работы задвижек: давления, рабочей температуры и коррозионных свойств среды.
Технические характеристики и параметры задвижки 30с15нж Ду80 Ру40
|
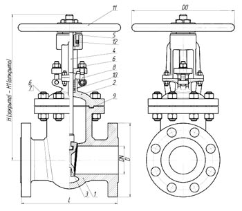
Габаритные размеры и вес задвижки 30с15нж Ду80 Ру40
| Наименование параметра | Значение, мм |
| Высота (H1) | 590 |
| Длина (L) | 310 |
| Высота (H) | 490 |
| Масса (кг) | 45...50 |
Строительная длина (L) - длина участка трубы, который задвижка замещает в трубопроводе. Строительная высота (H) - расстояние от оси прохода задвижки до конца шпинделя в верхнем положении.
Купить задвижку 30с15нж Ду80 Ру40 у завода – производителя чугунных и стальных задвижек ООО «Сибирский арматурный Завод Красный Арматурщик», имеющего представительства в различных регионах России, можно следующим образом:
1 шаг: Заявка
Для приобретения задвижки 30с15нж Ду80 Ру40, производства ООО «Сибирский арматурный Завод Красный Арматурщик», или аналога* (при необходимости), отправьте заявку на адрес электронной почты mail@redarma.ru, в которой укажите наименование (согласно номенклатурному наименованию Тулаэлектропривод) и желаемый вариант оплаты, или свяжитесь с менеджером по телефону - 8 800 333 10 65. В ближайшее время с Вами свяжется представитель отдела продаж нашего предприятия для определения цены, условий оплаты и сроков поставки.
2 шаг: Оформление покупки
После определения деталей по покупке и рассмотрения Вами, направленного в ваш адрес коммерческого предложения завода ООО «САЗ Красный Арматурщик», сообщите о намерении заключить договор о поставке в ваш адрес задвижки 30с15нж Ду80 Ру40 (аналог электропривода производства Тулаэлектропривод).
По запросу наше предприятие предоставляет техническую и разрешительную документацию.
3 шаг: Поставка (отгрузка)
После заключения договора, в течение 10 дней, в Ваш адрес будет отправлена задвижка 30с15нж Ду80 Ру40 с ближайшего склада компании или склада представителя ООО «Сибирский Арматурный Завод Красный Арматурщик». В комплект поставки входит паспорт и сертификат качества.
4 шаг: Период доставки.
Вы в любой момент можете получить точную информацию о процессе доставки и местонахождении задвижки 30с15нж Ду80 Ру40 у специалиста отдела логистики с помощью идентификатора – трек-кода, который присваивается при отправке. По завершении доставки до терминала транспортной компании в вашем городе Вы получите извещение.
5 шаг: Получение товара
Передача продукции заказчику (представителю заказчика) осуществляется в пункте выдачи транспортной компании в городе назначения, или на складе завода изготовителя.
При получении продукции на складе ООО «САЗ Красный Арматурщик» представителем заказчика требуется доверенность.
6 шаг: Получение КЭШ БЭК от ООО «САЗ Красный Арматурщик».
В разделе КЭШ БЭК нашего сайта введите ваш логин и пароль, выданный вместе с задвижкой 30с15нж Ду80 Ру40 (полный функциональный аналог электропривода Тулаэлектропривод) и следуйте инструкции, размещенной в вашем личном кабинете на сайте http://redarma.ru/
Узнать цену задвижки 30с15нж Ду80 Ру40 можно у онлайн-консультанта или по номеру телефона 8 800 333 10 65.
* Специалисты завода «Красный Арматурщик» помогут вам в подборе функционального аналога электропривода Тулаэлектропривод для задвижки 30с15нж Ду80 Ру40 по типу присоединения, материалу исполнения, климатическому исполнению и заданным техническим характеристикам.
Для наших покупателей из регионов России, СНГ и Таможенного Союза действует 100% скидка на доставку задвижки 30с15нж Ду80 Ру40 до терминала транспортной компании в городе, из которого осуществляется отправка продукции. Клиентам из Сибири, Дальнего Востока, Крыма и Севастополя мы постараемся предложить особые условия покупки задвижки 30с15нж Ду80 Ру40
